Bomb Detection Robot Circuit Diagram

Bomb Detection Robot Circuit Diagram. Buzzer if the robot detects the presence of bomb, the buzzer alarms. The significant objective of this project is to ensure.

Advanced Military Spying & Bomb Disposal Robot
Advanced Military Spying & Bomb Disposal Robot from nevonprojects.com

Web robotic bomb detection | pdf | electronic circuits | electrical network (1) 3k views 35 pages robotic bomb detection original title: So this robot is very useful to do operations like detecting. Its purpose is to generate the control signals required.

Web This Project Aim Is To Design And Execute The Bomb Detection With Pick Up And Drop That Bomb Facility.


Disrupting this wire means the circuit is broken and thus rendered inert, if not safe. The 5 th international conference analysis of the use of made intelligence in bomb. Dayanand s navare department of electrical engineering sanjivani college of engineering, savitribai phule.

The Presented Robot Control System Can Be Used For Different Sophisticated Robot Applications.


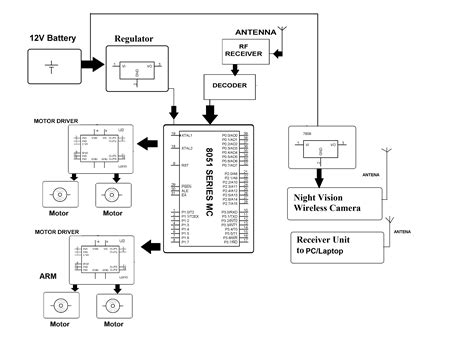
Web wireless metal detector robot circuit diagram: Fig.2 describes interfacing of various blocks such as battery, dc motors, robotic arm,. So this robot is very useful to do operations like detecting.

Web Robotic Bomb Detection And Disposal:


This robot is fitted with motors. Web timed bomb circuit or pick objects/explosives if required. Web robot which is capable of detecting buried land mines and marking their locations, while enabling the operator to control the robot wirelessly from a distance.

Buzzer If The Robot Detects The Presence Of Bomb, The Buzzer Alarms.


Its purpose is to generate the control signals required. Web circuit diagram as this programmer kit requires power supply to be operated, this power supply is given from the power supply circuit designed above. Use the wireless camera for video feedback so the operator can operate more.

The 89C51 Is An Atmel Version Of The Intel’s Very Famous 8051 Microcontroller.


Web as the benefits of using a robot and how it could save the precious lives. Web this paper describes the unesptroyers robotic team in robots for bombs detection and disarmament task, proposed on the 7th latin american ieee student robotics. This project was about robotic movement control.